
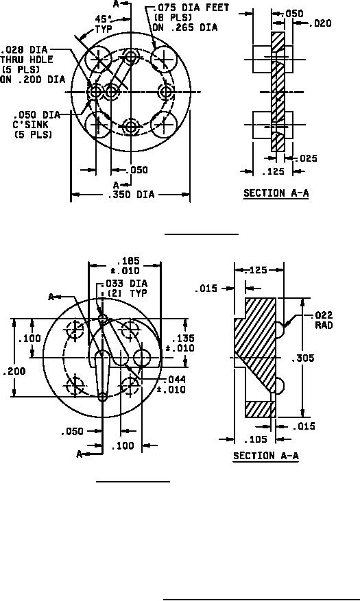
A-A-55485/10B
Inches
mm
.020
0.51
.025
0.64
.028
0.71
.050
1.27
.075
1.91
.125
3.18
.200
5.08
.265
6.73
.350
8.89
A-55485/10-005
Inches
mm
.010
0.25
.015
0.38
.022
0.56
.033
0.84
.044
1.12
.050
1.27
.100
2.54
.105
2.67
.125
3.18
.135
3.43
.185
4.70
.200
5.08
.210
5.33
305
7 75
A-55485/10-006
NOTES:
1. Dimensions are in inches.
2. Metric equivalents are given for general information only.
3. Tolerance on height of pad shall be ± .015 (0.38 mm).
4. Unless otherwise specified, tolerances are ± .010 (0.25 mm) for decimals and ± 1° on angles. A
.010 (0.25 mm) radius is permissible on corners and edges. A 1° draft is permitted on sides.
FIGURE 1. Configurations and dimensions - Continued.
4
For Parts Inquires call Parts Hangar, Inc (727) 493-0744
© Copyright 2015 Integrated Publishing, Inc.
A Service Disabled Veteran Owned Small Business