
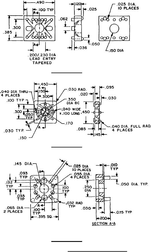
A-A-55485/5A
Inches
mm
.025
0.64
.036
0.91
.050
1.27
.062
1.57
.100
2.54
.125
3.18
.150
3.81
.200
5.08
.230
5.84
.300
7.62
.385
9.78
.490
12.45
A-55485/05-005
Inches
mm
.020
0.51
.030
0.76
.040
1.02
.050
1.27
.085
2.16
.095
2.41
.100
2.54
.145
3.68
.150
3.81
.170
4.32
.300
7.62
.350
8.89
.450
11.42
A-55485/05-006
Inches
mm
.010
0.25
.025
0.64
.030
0.76
.035
0.89
.050
1.27
.065
1.40
.075
1.91
.093
2.36
.100
2.54
.145
3.68
.152
3.86
.200
5.08
.250
6.35
.395
10.03
A-55485/05-007
FIGURE 1. Configurations and dimensions - Continued.
5
For Parts Inquires call Parts Hangar, Inc (727) 493-0744
© Copyright 2015 Integrated Publishing, Inc.
A Service Disabled Veteran Owned Small Business